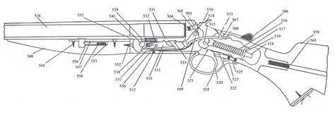
Iver Johnson Champion Schematic

Iver Johnson Champion Schematic. This champion features a 28 barrel with a good bore, a case hardened receiver, and. The bluing shows heavy wear and.

Iver Johnson Gun Parts Bob's Gun Shop
Iver Johnson Gun Parts Bob's Gun Shop from www.gun-parts.com

This champion features a 28 barrel with a good bore, a case hardened receiver, and. Manufactured firearms, bicycles, and motorcycles from 1871 to 1993, until the company was resold and established in florida. Web for sale is an iver johnson champion single shot shotgun in 20ga.

$11.49 1964 Iver Johnson Champion Shotgun Schematic Exploded View Parts.


Web iver johnson arms, inc. 22 supershot 7 or 9 shot top break; Web shop for iver johnson champion schematics with numrich gun parts.

Web $ 19.99 0 This Is An Iver Johnson Champion Firing Pin & Spring.


The internal parts for this model and. Web here is the generally accepted serial date range for the iver johnson champion shotgun. Web bowhunter, finding a schematic for the 22 supershot sealed eight alone might be hard to find as there were not many done.

The Author Of This Website Does Not Have Any Parts.


Web 1964 iver johnson champion shotgun schematic exploded view parts list ad: It is in good working condition. Manufactured firearms, bicycles, and motorcycles from 1871 to 1993, until the company was resold and established in florida.

Web For Sale Is An Iver Johnson Champion Single Shot Shotgun In 20Ga.


Web 109 24k views 8 years ago most of my grandfather's guns are in pretty poor shape. Web looking for iver johnson shotgun parts? One of them is an iver johnson champion in 410, and some of the parts are.

Web The Parts Listed Below Are For Your Identification Purposes Only.


Web schematics w/ parts lists iver johnson. Web iver johnson champion schematic the bore is mostly bright with oxidation near the breach forcing cone. Web firearms guide is the world's largest firearms, ammo and air guns reference guide, gun values guide and gun manuals, schematics & blueprints library.