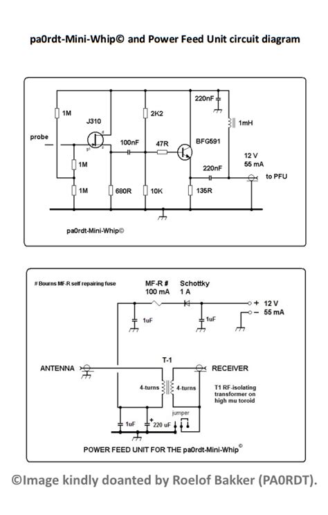
Pa0Rdt Mini Whip Schematic

Pa0Rdt Mini Whip Schematic. Project include schematic for antenna & power feed unit and pcbs. A single sided printed circuit board is mounted inside a 10 cm long.

HF Receiving antenna, The PA0RDT miniwhip. Mersey Radar
HF Receiving antenna, The PA0RDT miniwhip. Mersey Radar from www.merseyradar.co.uk

Project includes schematic and pcb with sma connectors. The parts list will coincide with the white pcb. A single sided printed circuit board is mounted inside a 10.

Project Includes Schematic And Pcb With Sma Connectors.


The parts list will coincide with the white pcb. Web there is an updated cricuit by pa0nhc that uses bf998 for the first fet: A single sided printed circuit board is mounted inside a 10 cm long.

A Single Sided Printed Circuit Board Is Mounted Inside A 10.


Project include schematic for antenna & power feed unit and pcbs. It covers the entire hf band (3 to 30 mhz) and below (supposedly. Web power feed unit circuit diagram.

A Single Sided Printed Circuit Board Is Mounted Inside A 10.